kedroplast-suvenir.ru

Ip 地址 的 意思 (99) 사진

一文搞懂公网地址和私网地址,真的好详细!-腾讯云开发者社区-腾讯云

IP地址查询🔍

美国服务器IP地址是什么意思?对网站运营有什么影响? - Hostease中文官方博客

百度云防护回源IP网段中/32/27/26是什么意思-云加速

网络前缀长度是什么意思(前缀长度设置多少好)_尊云服务器

奇怪的知识又增加了—那些特殊的IP地址- 知乎

各大平台公开的“IP属地”,能准确知道你在哪儿吗?

防火墙,关于dhcp 地址池选项下面dhcp选项是什么意思? - 知了社区

内网IP与外网IP的区别- 爱加速

ping、arp、tracert、route這四大命令的詳細用法,弄懂立馬成大神

IP 地址的基础知识· Issue #100 · qingquan-li/blog

怎么查看自己的IP地址?3个方法告诉你- IPFLY

192.168.188.1是什么意思?IP地址设置详解。_尊云服务器

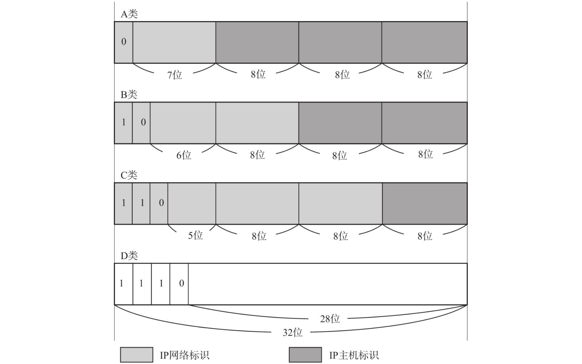
IP地址分类详解:A、B、C、D类地址如何划分的以及保留地址(特殊地址)介绍-CSDN博客

IP 地址的基础知识· Issue #100 · qingquan-li/blog

IP 基础知识全家桶,45 张图一套带走- 知乎

了解不同IP 位址類型- Surfshark

网络前缀长度是什么意思(前缀长度设置多少好)_尊云服务器

什么是源ip地址(源ipv4地址是什么意思)-IP数据云查询

IP地址— 您需要了解的全部

一文了解靜態IP vs. 動態IP(2026 年版)- Surfshark

网络通信之IP地址1. IP 地址是一个**网卡**在网络世界的通讯地址,相当于我们现实世界的门牌号码2. lo 全称- 掘金

IP地址、子网掩码、网关、DNS和端口(port)之间的关系_ip地址,子网掩码,网关之间的关系-CSDN博客

什么是电脑ip地址(电脑ip啥意思)-IP数据云查询

IP地址后的“/24”是啥意思?-CSDN博客

了解公共、私有和保留IP 位址類型| IP 位址- IPSHU

IP地址— 您需要了解的全部

42亿个IP地址早已分配完毕,为什么我们还在使用?-ip地址为什么有四个

找不到服务器IP地址怎么办?有何快速查找方法?_尊云服务器

网路是怎样连接的(十二)IP地址怎么看思考重点如何看懂IP代表的意思子网内的设备可以被直接访问吗网路设定中的255 -

调查IP 地址 | Google Security Operations | Google Cloud Documentation

找不到服务器IP地址怎么办?有何快速查找方法?_尊云服务器

为什么网络需要DHCP服务器?

如何通过Envoy Gateway 得到客户端的真实IP 地址?-赵化冰的博客| Zhaohuabing Blog

42 亿个IP 地址都被用光了?耽误我网上冲浪么?-腾讯云开发者社区-腾讯云

IP 地址的基础知识· Issue #100 · qingquan-li/blog

一文看懂IP地址:含义、分类、子网划分、查与改、路由器与IP地址-ip地址子网是什么

什么是IPv4 地址? - Interlir 网络市场

什么是IP(互联网协议)地址?| Akamai

怎么查看自己的IP地址?3个方法告诉你- IPFLY

我手机设置里“限制IP地址追踪”选项是什么意思? : r/InternetBrasil

IP 地址的基础知识· Issue #100 · qingquan-li/blog

IP地址后的“/24”是啥意思?-CSDN博客

IP地址— 您需要了解的全部

图文详解:插上网线后,你的IP 地址是怎么“入职” 的? - 知乎

教你如何判断IP是外网IP还是内网IP同一个局域网之间是通过内网IP通信的,而外网之间是通过公网IP通信的,但什么是外网-

ping、arp、tracert、route這四大命令的詳細用法,弄懂立馬成大神

ip地址简介ip地址取值0-255 最后一位也可以为0 - Little_Monster-lhq - 博客园

在Bybit官网注册新号,显示受限IP地址,是什么意思?

简单说网络1-计算机是如何通信的?IP地址与mac地址是什么?dhcp与arp又是什么?

网络基础知识-192.168.0.1/24是什么意思?_192.168.1.0的二进制-CSDN博客

IP 基础知识全家桶,45 张图一套带走- 知乎

ip地址到底是什么意思呢?

阿里云市场里的全球IP归属地查询服务请慎重购买! – 海南仙岛

一文看懂IP地址:含义、分类、子网划分、查与改、路由器与IP地址-ip地址子网是什么

找不到服务器IP地址怎么办?有何快速查找方法?_尊云服务器

IP 位址類型:您需要了解的一切| NordVPN

网址查询ip地址| 创梦网络

What Is an IP Address?

模拟ip设计是什么意思?如何避免IP地址泄露?-云登指纹浏览器

IP 位址類別A/B/C/D/E 和網絡ID、主機ID 的說明| IP 位址- IPSHU

IP 地址的基础知识· Issue #100 · qingquan-li/blog

两个ip地址最后一个数不一样- 抖音

如何区分IP地址是住宅IP还是数据中心IP? - Proxy302文章资讯

我画了40 张图就是为了让你搞懂计算机网络层- 程序员cxuan - 博客园

169.254 IP 地址是什么意思- DevOps - iSharkFly

ping、arp、tracert、route這四大命令的詳細用法,弄懂立馬成大神

9000字加图文| 带你了解IP地址划分、子网掩码的作用、实际中IP地址规划是怎么样的-腾讯云开发者社区-腾讯云

ip地址简介ip地址取值0-255 最后一位也可以为0 - Little_Monster-lhq - 博客园

什么是IP地址,公网IP,IP V4/IP V6又是什么意思】 - 知乎

IP 地址的基础知识· Issue #100 · qingquan-li/blog

顺着IP找到你家?IP和MAC地址的区别?_搜狐网

如何区分IP地址是住宅IP还是数据中心IP? - Proxy302文章资讯

路由器IP 地址是什么?如何找到你的Wifi 地址

子网掩码| 小菜学网络

网络层IP地址分类_网络地址的最高位是什么意思-CSDN博客

TCP/IP】ipV4划分- 无信不立- 博客园

如何区分IP地址是住宅IP还是数据中心IP? - Proxy302文章资讯

计算机网络:网络层- Bo Blog

如何区分IP地址是住宅IP还是数据中心IP? - Proxy302文章资讯

ping、arp、tracert、route這四大命令的詳細用法,弄懂立馬成大神

怎么让Apple 设备用上国内IP 地址? - 爱加速

如何通过Envoy Gateway 得到客户端的真实IP 地址?-赵化冰的博客| Zhaohuabing Blog

域名解析IPv6和IPv4有什么区别? - 域名商城

图文详解:插上网线后,你的IP 地址是怎么“入职” 的? - 知乎

你的域名是如何变成IP 地址的?-腾讯云开发者社区-腾讯云

一般不使用的IP地址_不常用内网地址-CSDN博客

什么是IP 欺骗? | Cloudflare

ChatGPT 可以访问你的精确IP地址和位置? : r/OpenAI

169.254 IP 地址是什么意思- DevOps - iSharkFly

iT 邦幫忙::一起幫忙解決難題,拯救IT 人的一天

IP 地址的基础知识· Issue #100 · qingquan-li/blog

IPv4类:他们是什么,如何使用| Hostwinds

TCP/IP 概述| 梅沙科技FEX

什么是IP(互联网协议)地址?| Akamai

什么是ip端口(ip和端口是什么意思)-IP数据云查询

中式没品笑话百科|微博显示IP地址后

IP地址集中管控:从分配规划、现网管理到合规性监测、准入控制全周期监管- 北京智和信通- 博客园

16 февраль 0 0
2023 copyright text.